REF: Herramientas
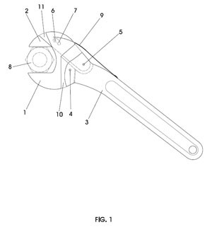
Llave para tuercas que incorpora la novedad de presentar las dos mordazas articuladas asimétricamente en relación con la cabecera del mango y a su vez articuladas entre sí, de tal manera que cuando el usuario aprieta la llave se solidarizan las mordazas, transmitiéndose la fuerza del mango a la resistencia de la tuerca, mientras que cuando el usuario mueve el mango en sentido contrario al de apriete se liberan las mordazas abriéndose éstas lo necesario, gracias a un limitador del recorrido de apertura, para vencer el obstáculo ofrecido por las aristas angulares de la tuerca.
Una vez salvado dicho obstáculo las mordazas recuperan su posición original acoplándose a la tuerca por la acción de un muelle. Con ello el usuario no tiene necesidad de volver a acoplar las mordazas a la tuerca para seguir apretando. Para desapretar basta colocar la llave en sentido contrario al del apriete. Aunque esta llave puede emplearse para un uso normal en toda ocasión, está especialmente indicada para su uso en lugares en los que la tuerca no se encuentra a la vista del usuario, como por ejemplo en los aparatos sanitarios de los cuartos de baño, en motores y en otras muchas ocasiones. La invención presenta además otras novedades, como la de poder disponer de piezas suplementarias que se acoplan a una de las mordazas por su cara interior, permitiendo así diferentes ajustes de las mordazas a tuercas de diferentes tamaños. Esta novedad se complementa con otra, directamente relacionada con la llave, consistente en poder establecer un resalte longitudinal en la zona de agarre de una de las mordazas relacionado con una ranura perimetral establecida en la correspondiente tuerca o bien a la configuración específica en forma de huso de la mordaza de tal manera que ésta se adapte a la configuración poliédrica de la correspondiente tuerca.
Se encuadra dentro del campo de la construcción de herramientas y en particular de llaves para tuercas, siendo su campo específico el de llaves para tuercas de mordazas articuladas auto ajustables, sin descartar las tuercas de configuración específica a las que las mordazas de la llave se ajustan.



